Description
Stainless Steel Threaded Mini Ball Valve
DKV Stainless steel mini ball valves are compact, high-precision flow control devices ideal for tight spaces.
They feature a ball with a central bore operated by a handle tocontrol fluid or gas flow and are rated for 1000 PSl forwater, oil, or gas applications.
Available in FNPT to FNPT, MNPT to MNPT, and MNPT to FNPT configurations, thesevalves provide flexibility for various piping needs.
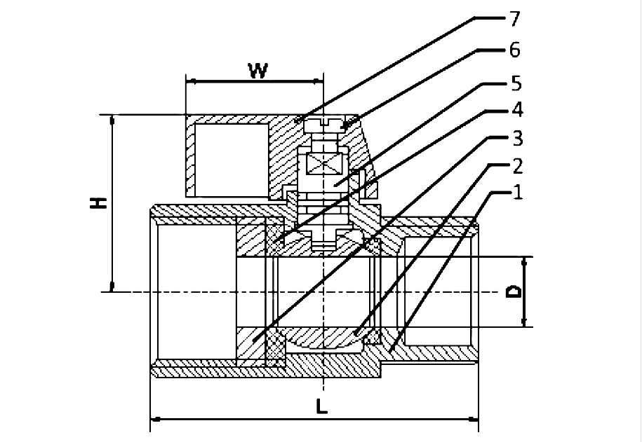
Outline and Connecting Measurememt
Body Material: Stainless Steel 316L
Seat Material: PTFE, Viton, EPDM
Handle Material: Plastic or Metal
Connection: NPT/BSP Threaded
Size: 1/8″ to 1″
Pressure Range: Up to 1000 PSl
Temperature Range: -25’C to 180°C
Media: Air, oil, water, gas
Item | Ball Value |
Application | General |
Place of Origin | China |
Power | Manual |
Customized Support | OEM |
Port Size | DN6-DN50 |
Warranty | 1 year |
Temperature of Media | Normal Temperature |
Brand Name | DKV |
Media | Water |
Body Material | Stainless Steel 316 |
Seal Material | PTFE EPDM |
Connection | NPT BSP Thread |
Medium | Water Oil Gas |
Working Pressure | 1000 PSI |
Working Temperature | -20 °C to +180 °C |
Threaded Mini Ball Valve
No | Part Name | Material |
1 | Body | SS316 & CF8M |
2 | Ball | SS316 |
3 | Cap | SS316 |
4 | Ball Seat | PTFE |
5 | Stem | SS304 |
6 | Bolt | SS304 |
7 | Lever | Aluminium |
Dimension
| Size | D | H | W | L | Weight (kg) |
1/8″ | 7 | 26.5 | 22.9 | 40 | 0.081 |
1/4″ | 7 | 26.5 | 22.9 | 40 | 0.081 |
3/8″ | 7 | 26.5 | 22.9 | 40 | 0.084 |
1/2″ | 9.2 | 29.3 | 22.9 | 46 | 0.105 |
3/4″ | 12.5 | 31.5 | 22.9 | 54 | 0.105 |
1″ | 15 | 34 | 22.9 | 65 | 0.284 |













